富林克T40H锁闭调节阀具有调节、截止、锁定的功能。便于维修和物业管理,适用于公称压力小于等于1.6MPa和小于等于2.5MPa,介质温度1~200℃和小于等于350℃蒸汽水管路上作为调节流量之用,进行一次性调试后锁定

富林克T40H锁闭调节阀具有调节、截止、锁定的功能。便于维修和物业管理,适用于公称压力小于等于1.6MPa和小于等于2.5MPa,介质温度1~200℃和小于等于350℃蒸汽水管路上作为调节流量之用,进行一次性调试后锁定
锁闭调节阀应用
富林克T40H锁闭调节阀具有调节、截止、锁定的功能。便于维修和物业管理,适用于公称压力小于等于1.6MPa和小于等于2.5MPa,介质温度1~200℃和小于等于350℃蒸汽水管路上作为调节流量之用,进行一次性调试后锁定。

特点:
1、改善供热工况:凡是采用手动调节阀的线性及热力点,都可以按着设计工况进行流量调节,达到良好的温度工况,这种调节阀比闸阀、截止阀、调节性能好,它具有近似直线调节性能,因此,各采暖建筑物冷热不均的现象得到有力的改善。
2、节省能源:热力管网由于温度压力的失调,造成某些支流量过大,使一些建筑温度过高,用户不得不开窗户,大量热能白白浪费掉,由于分支安装了手动调节阀,克服了温度压力失调,避免开窗户,达到节约能源的目的。
3、改善管网水力工况:手动调节阀能按照额定流量进行控制,将管网超量运行的流量降低,使原本水工况恶化程度得到一定改善。

|
阀体材料 |
碳钢WCB、不锈钢304、316、 |
|
|
公称压力 Mpa |
1.6 |
2.5 |
|
壳体试压 Mpa |
2.4 |
3.75 |
|
密封试压Mpa |
1.76 |
2.75 |
|
使用 温度 |
-20℃~350℃ |
|
|
介质 : |
水、油品、蒸汽 |
|
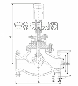
法兰锁闭调节阀结构图

法兰锁闭调节阀尺寸
内螺纹锁闭调节阀结构图


内螺纹锁闭调节阀尺寸


T40H锁闭调节阀